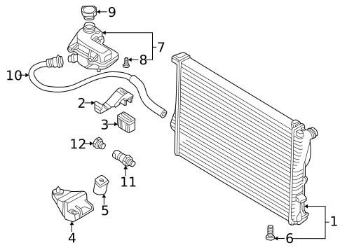
Radiator & Components for 2000 BMW Z3
No.
Part # / Description / Price
Price
2
Upper Bracket
BMW
BMW Positions: Right
Description: 4 cylinder. 3.2L. 2.8 & 3.0L, 1999-02. 2.5L. 1.9L. 2.8 & 3.0L, 1997-98. Convert new style, 6 cylinder.
MSRP $9.94
$8.49
MSRP $9.94
$8.49
4
Lower Bracket
BMW
BMW Positions: Right
Description: 3.2L. 4 cylinder. 2.8 & 3.0L, 1999-02. 2.5L. 1.9L. 2.8 & 3.0L, 1997-98. Convert new style, 6 cylinder.
MSRP $11.77
$10.05
MSRP $11.77
$10.05
6
Drain Plug
BMW
BMW Notes: PARTS: Part is included with radiator assembly.
Description: 3.2L. 2.8 & 3.0L, 1999-02. 2.5L. 525i, 528i, 530i & 540i. 2.8 & 3.0L, 1997-98.
7
Expansion Tank
BMW
BMW Description: 2.8 & 3.0L, 1999-02. 4.4, 4.6 & 4.8L. X5. Z3. 2.5l. Z3. 2.8l. Z3. 3.0l.
MSRP $160.67
$119.28
MSRP $160.67
$119.28
8
Bleeder Valve
BMW
BMW Description: 525i, 528i, 530i & 540i. 325Ci & 330Ci. 4 cylinder. 3.2L. M3. 2.5L. With 335d. 1.9L. 2.8 & 3.0L, 1997-98. Convert new style, 6 cylinder.
MSRP $5.46
$4.47
MSRP $5.46
$4.47
11
Temp Switch
BMW
BMW Description: 3.2L. 2.8 & 3.0L, 1999-02. 2.5L. From 05/1997. 2.8 & 3.0L, 1997-98. Convert new style, 6 cylinder.
12
Temp Switch Plug
BMW
BMW Description: 3.2L. 2.8 & 3.0L, 1999-02. 2.5L. 1.9L. 2.8 & 3.0L, 1997-98.
MSRP $4.43
$3.78
MSRP $4.43
$3.78
No.
Part # / Description / Price
Price
1
MSRP $756.94
$552.26
2
$46.57
3
$46.57
5
Expansion Tank
BMW
BMW Description: 2.8 & 3.0L, 1999-02. 4.4, 4.6 & 4.8L. X5. Z3. 2.5l. Z3. 2.8l. Z3. 3.0l.
MSRP $160.67
$119.28
MSRP $160.67
$119.28
7
MSRP $174.45
$121.42
10
MSRP $156.90
$127.40
Related Parts
Part # / Description / Price
Price
